在代理实务中,申请人期望通过对权利要求的修改,克服诸如新颖性、创造性等方面的实质缺陷,同时追求获得最大或者最适合的保护范围。因此,有时候会冒险地通过修改引入从原说明书和权利要求书中“无法确定的”、“很难确定的”、或“‘间接’地确定的”内容。
这里,结合笔者在代理实务经验而假设的案例,针对增加“没有文字记载的特征”这种修改方式,来探究这种情况下如何合理判定“修改是否超范围”以及应对方法。
增加“没有文字记载”的特征
在代理实务中,在基于说明书(包括说明书附图)的记载修改权利要求时,对于超出文字记载或基于说明书附图的内容所作的相应修改,应当格外小心和谨慎。
假设,存在一件发明名称为“用于XXXX的托盘”的专利申请,在独立权利要求1中记载到:
“一种用于XXXX的托盘,包括:
多个存储格(119,120,122,123),所述存储格(122)在其角处由支撑元件(52,54)限定;
所述支撑元件包括架状突出物,用于在和托盘垂直的方向固定集成电路芯片;
所述架状突出物在每个存储格的第一对在对角线上相对的角处各包括向内偏置的背脊(52,54),用于在和托盘平行的方向固定集成电路芯片;
所述架状突出物在每个存储格的第二对在对角线上相对的角处各包括向外偏置的背脊(44),从而形成相邻存储格(119)的向内偏置的背脊(50),用于在相邻存储格内在和托盘平行的方向固定集成电路芯片”。
相关附图见下面给出的图1和图2。

图1

图2
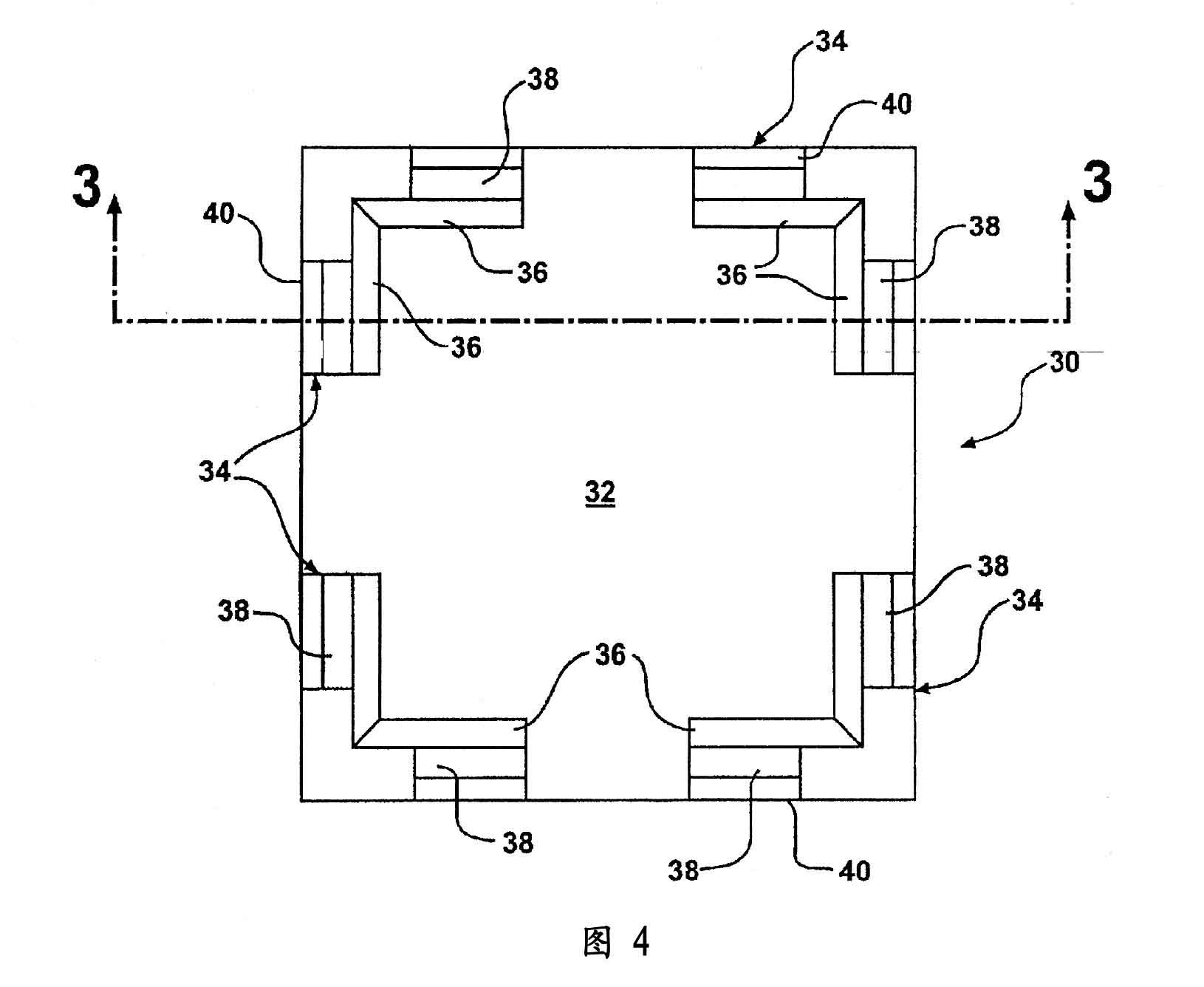
假设在进入实质审查阶段之后,审查员找到了最接近的对比文件,并基于该对比文件认定上述权利要求1中记载的全部特征都已经被对比文件所公开,本发明与对比文件相比较不具备新颖性。这里给出示出了该对比文件的主要技术内容的图3和图4。

图3

图4
经过比较可以看出,当使用托盘固定例如集成电路芯片时,本发明仅利用一对向内偏置的背脊(见图2中附图标记52、54所示)上设置的支撑元件来固定芯片;与此不同的是,对比文件的图4却示出了利用四个支撑元件来固定芯片。相应地,与对比文件相比较,本发明成型更加简单,同时在水平和垂直方向上固定效果也更好。因此,与对比文件相比较,本发明应当具备新颖性、创造性。
为了进一步明确与对比文件的不同,突出仅利用一对向内偏置的背脊上设置的支撑元件起固定作用这一发明点,根据图2所示内容,对权利要求1追加了“存储格具有中心……”、“第一对在对角线上相对的角与存储格的中心相隔第一距离”、“第二对在对角线上相对的角与存储格的中心相隔第二距离”、以及“第二距离大于第一距离”等特征。对于本发明,图1中例如由附图标记122表示的存储格,由于其中仅有一对对角上设置了向内偏置的支撑部件,造成经过中心的两条对角线的距离不相等,从而仅利用距离较短的一对背脊上的支撑元件来固定芯片。
代理人认为,虽然上述追加的特征在原说明书和权利要求书中没有明确的文字记载,但是属于本领域技术人员根据说明书附图和其所掌握的公知技术所能够确定的内容,并且所追加的特征是为了突出与对比文件的不同之处,而并非是为了扩大保护范围而使申请人获得不当的利益。
该发明对现有技术作出贡献的内容虽然未在原始权利要求中限定,但是已经明确地体现在说明书附图之中。具体的,如上所述,对独立权项新追加的特征,例如“中心点”、“第一和第二距离”、以及“第一和第二距离在长度上的定性关系”都是可以从本发明的图1中确定的内容,是本领域技术人员唯一确定的、而不会得出相反或其他不同的结论。
因此,代理人认为,在这种情况下,审查员不会仅仅因为原申请文件中没有明确的文字记载,而将本领域技术人员能从原申请文件中唯一且毫无疑义确定的内容认为是超出了本申请记载的范围,且对于根据附图可以定性或者定量的内容,也会给与考虑。
当然,为了避免出现在修改时可能造成超范围的问题,更应当在撰写申请文件时,以文字形式具体描述重要的特征,尤其是针对那些可能会体现发明技术贡献的内容,更是要用文字形式尽量描述清楚。如果对于某技术内容,能够作到说明书的文字记载和附图表示相对应,则可实现修改依据上的“双保险”,为日后修改申请文件保留更大的余地。